【導讀】“智慧城市”、“智能電網”、“泛在電力物聯”......近幾年一些新概念相繼被提出,這些規劃相互交叉影響,在一些試點城市快速建設推進,如高壓電纜線已由空架開始轉到地下,以青島為例,主干道、高新區老區改造新區建設都要求電纜下地,每50m-100m覆蓋一個智能井蓋來保證城市安全,釋放城市空間資源。
電力智能井蓋產品定義及終端功能
產品定義:智能井蓋監控系統,可以檢測井蓋是否丟失,智能井蓋監控系統利用目前先進的無線通訊技術、電源技術、可以持續采集井蓋狀態和井下環境信息,包括水位、溫度、有害氣體等,然后存儲和遠傳。將井蓋的開啟、井蓋巡檢納入到統一的維護管理系統中,并建立相對應的報警處理機制,通過電子地圖展示井蓋所處位置的狀態和報警內容,例如井蓋被盜或者破壞,監控人員能夠及時到達現場處理,快速地解決安全遺患。
電力井蓋監控終端功能:
● 入侵報警:實時監控井蓋的開啟及破壞情況
● 環境監測:井下O2濃度有毒氣體如CO,H2S......
● 狀態管理:遠程控制或密鑰開啟、關閉井蓋
● 通過通訊協議接口實現與其他系統的互聯互通
● 基于物聯網的設備的全生命周期的管理
Excelpoint世健公司的工程師Ethan Li介紹了ADI IC從感知(iSensor MEMS)、采集(Analog to Digital Converter),到數字隔離通訊接口(iCoupler)、電源供電系統(ADI Power by Linear),在一個典型小而智慧的應用“電力智能井蓋”中的應用。
產品典型信號鏈

【圖1 電力智能井蓋典型信號鏈】
系統技術要求
● 系統供電:24Vdc(Range16V~36V)在線式供電系統(同樣要求有后備電源系統或者鋰電池供電系統)
● 井蓋傾斜檢測:閾值報警,1~2°誤差
● 氣體檢測精度:~5%
● 通訊方式:隔離RS-232/485總線通訊,速率<115200bps,,2G/4G/NB-IOT無線
● 靜態功耗:<0.02W
● 報警響應時間:<10S
● 免維護時間:1年以上
電源供電系統-ADI Power by Linear
電源需啟動較大功率機械動作開關,也要保證下井后系統斷電的人工安全,所以供電方式上采用在線式24Vdc供電Vin=16~36V,后備電源為6~8節Li-ion(25.2Vfull/29.4Vfull)串聯充電。
成功設計使用案例:LTC4020高壓buck-boost兼容MPPT太陽能充電功能+LTC4416外部路徑管理的高可靠性設計方案。

【圖2 LTC4020應用簡圖及特點】
此外,還有反激式LT8302隔離電源方案,LT860X多路同步整流DC/DC,以及Silent switcher技術的LT8609S、LTC8645S、LTC8650S等全套電源供電可參考方案。
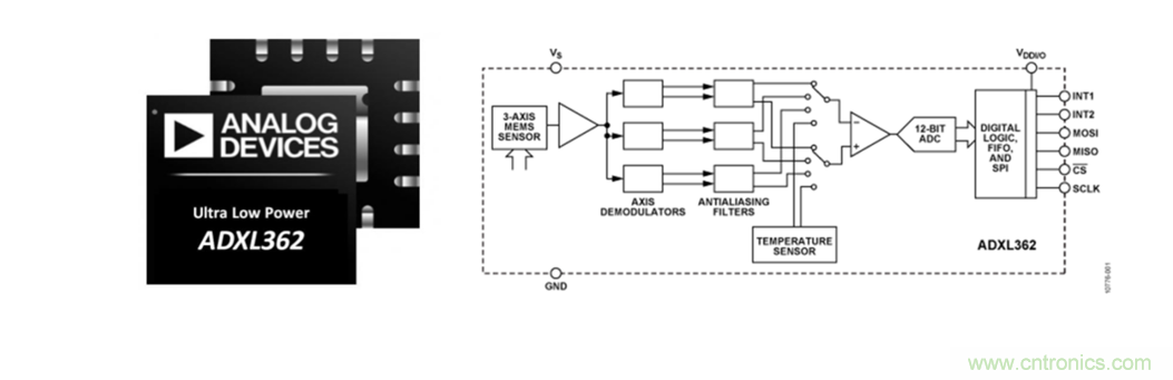
ADI MEMS G-sensor在傾角檢測的應用
成功設計使用案例:超低功耗3軸MEMS加速度計ADXL362,保證整機的靜態功耗。


關于3軸G-SENOR測傾角的設計,可參考ADI官網完整的應用筆記AN1057。
井下氣體檢測
系統一般會要求有O2、CO、CO2、H2S四種氣體加常規輔助量檢測,檢測誤差精度~5%,要求不高,現在客戶設計方案還是電化學傳感器加放大器,如ADA4528、AD623 TIA信號調理后MCU片內ADC采集的方案。
Ethan Li推薦2019年ADI發布的一顆基于電化學傳感器方案氣體檢測的平臺級產品——ADuCM355。

ADuCM355高集成度、高精度、高安全可靠性、小體積、低功耗等特性,在基于電化學傳感器做氣體檢測中應用中優勢顯著,有客戶已開始導入評測,ADuCM355具體的應用設計本文不展開細說,可參考ADI官網電路筆記CN0425、CN0429了解。
隔離通訊接口
通訊方式:隔離RS-232/485總線通訊,功能性隔離2500Vdc,通訊速率<115200bps,以及2G/4G/NB-IOT無線。
成功設計使用案例:隔離RS-232、ADM3251E、隔離RS-485、低成本ADM2483,集成isoPower的ADM2587E。相比于傳統的光耦隔離與電容隔離,ADI iCoupler專利的磁隔離技術魯棒性高,抗干擾能力強。新一代的磁隔離編解碼技術在原有解碼基礎上又升級進一步增加抗干擾性,集成度高、設計簡單。



Ethan表示,ADI可提供的iSensor+ Single process+ iCoupler+ADI power by Linear全套產品方案。此外,世健在山東區域已配合客戶設計支持,具有成功設計使用的經驗,并且已經量產。隨著城市發展和泛電力物聯網的大力推進,電力智能井蓋產品功能也會不斷豐富。相信將來ADI產品與客戶方案設計上會有更全面、更深入的合作。
關于世健——亞太區領先的元器件授權代理商
世健是完整解決方案的供應商,為亞洲電子廠商包括原設備生產商(OEM)、原設計生產商(ODM)和電子制造服務提供商(EMS)提供優質的元器件、工程設計及供應鏈管理服務。
世健與供應商及電子廠商緊密協作,為新的科技與趨勢作出定位,并幫助客戶把這些最先進的科技揉合于他們的產品當中。集團分別在新加坡、中國及越南設有研發中心,專業的研發團隊不斷創造新的解決方案,幫助客戶提高成本效益并縮短產品上市時間。世健研發的完整解決方案及參考設計可應用于工業、無線通信及消費電子等領域。
世健是新加坡的主板上市公司,總部設于新加坡,擁有約750名員工,業務范圍已擴展至亞太區40多個城市和地區,遍及新加坡、馬來西亞、泰國、越南、中國、印度、印度尼西亞、菲律賓及澳大利亞等十多個國家。世健集團在2019年的年營業額超過9億7千萬美元。1993年,世健在香港設立區域總部——世健系統(香港)有限公司,正式開始發展中國業務。目前,世健在中國擁有十多家分公司和辦事處,遍及中國主要大中型城市。憑借專業的研發團隊、頂尖的現場應用支持以及豐富的市場經驗,世健在中國業內享有領先地位。
推薦閱讀:





