中心論題:
- 介紹幾種常見溫度傳感器
- 分析溫度測量系統對模數轉換器的要求
解決方案:
- 利用低噪聲的增益級電路放大信號
- 利用具有高分辨率、高精密度的Σ-Δ模數轉換器
引言
測量溫度的傳感器有幾種。為具體應用選擇適當的溫度傳感器取決于待測溫度范圍以及所需的精度。系統精度取決于溫度傳感器的精度以及對傳感器輸出進行數字化的模數轉換器的性能。在多數情況下,由于傳感器信號非常微弱,因此需要高分辨率模數轉換器。Σ-Δ模數轉換器具有高分辨率,因而非常適合這種系統,而且這種轉換器往往包含溫度測量系統所需的內置電路,如激勵電流源。本應用注釋主要介紹可以利用的溫度傳感器(熱電偶、電阻溫度檢測器(RTD)、熱敏電阻器與熱敏二極管)以及連接傳感器與模數轉換器所需的電路,并介紹對模數轉換器的性能要求。
熱電偶
熱電偶由兩種不同類型的金屬組成。當溫度高于零攝氏度時,在兩種金屬的連接處會產生溫差電壓,電壓大小取決于溫度相對于零攝氏度的偏差。熱電偶具有體積小、堅固耐用、價格相對便宜、工作溫度范圍寬等優點,非常適合惡劣環境中的極高溫度(高達2300°C)測量。不過,熱電偶的輸出為毫伏級,因此需要經過精密放大才能進行進一步處理。不同類型熱電偶的靈敏度也不一樣,一般僅為每攝氏度幾毫伏,因此為了準確讀出溫度,需要高分辨率、低噪聲模數轉換器。當熱電偶與印制電路板的銅印刷線連接時,在熱電偶與銅印刷線連接的地方會出現另一個熱電偶接點。其結果是產生一個抵消熱電偶電壓的電壓。為了補償這個反向電壓,我們在熱電偶-銅線連接點放置一個溫度傳感器,測量連接處的溫度。這就是所謂的冷接點。
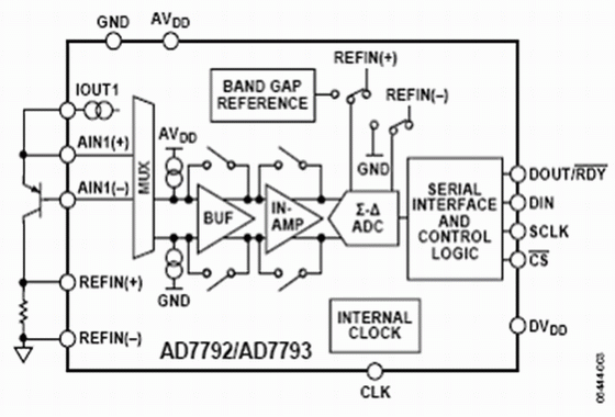
圖1給出利用3通道、16/24位AD7792/AD7793Σ-Δ模數轉換器(也可以使用6通道AD7794/AD7795)的熱電偶系統。其片內儀表放大器首先對熱電偶電壓進行放大,然后通過模數轉換器對放大的電壓信號進行模數轉換。熱電偶產生的電壓偏置在地電平附近。片內激勵電壓源將其偏置到放大器線性范圍以內,因此系統能夠利用單電源工作。這種低噪聲、低漂移、片內、帶隙基準電壓源,能夠確保模數轉換的精度,從而保證整個溫度測量系統的精度。

圖1.熱電偶溫度系統的模擬電路部分
冷接點的溫度是利用電阻溫度探測器(RTD)或熱敏電阻器(圖1中的RT)進行測量的。這兩種器件的電阻都隨著溫度而變化。片內恒流源提供所需的激勵電流。在這個測量中使用了比率配置方式,也就是,模數轉換器的基準電壓源與精密電阻器使用相同的激勵電流。采用比率配置方式,可以使冷接點的溫度測量不受激勵電流的影響,因為激勵電流的變化可以使傳感器產生的電壓變化量與精密電阻器產生的電壓變化量完全相同,因此對模數轉換沒有任何影響。
電阻溫度探測器
電阻溫度探測器的電阻隨著溫度的變化而變化。電阻溫度探測器的常用材料是鎳、銅、鉑,其中電阻在100 Ω~1000 Ω之間的鉑電阻溫度探測器是最常見的。電阻溫度探測器適用于在–200°C ~ +800°C的整個溫度范圍內具有接近線性響應的溫度測量。一只電阻溫度探測器包括3根或4根導線組成。圖2給出3線電阻溫度探測器與模數轉換器的連接示意圖,其中RL1、RL2、RL3分別代表電阻溫度探測器引線的電阻。

圖2. 電阻溫度探測器溫度系統的模擬電路部分
為了實現3線電阻溫度探測器配置的完全最優化,需要兩個完全匹配的電流源。在這個3線配置中,如果只使用一個電流源(IOUT1),則引線電阻將帶來誤差,因為激勵電流流經RL1時會在AIN1(+)與 AIN1(–)之間產生電壓誤差。我們利用第二個電阻溫度探測器電流源(IOUT2)對激勵電流通過RL1引起的誤差進行補償。每個電流源的絕對精度并不重要,但兩個電流源的完全匹配非常關鍵。第二個電阻溫度探測器電流通過RL2。假設RL1與RL2相等(引線通常由同樣材料制成且長度相等),且IOUT1與IOUT2匹配,使RL2兩端誤差電壓將與RL1兩端誤差電壓抵消,因此AIN1(+)與 AIN1(–)之間不會產生誤差電壓。雖然RL3將產生兩倍的電壓, 但這是共模電壓,因此不會帶來誤差。
模數轉換器具有差分模擬輸入并接受差分基準電壓,可以實現比率配置。在圖2中,模數轉換器的基準電壓也是由匹配的電流源產生的。這個基準電壓由精密電阻器(RREF)兩端的電壓產生,并用于模數轉換器的差分參考輸入端。這個方案將確保模擬輸入電壓與基準電壓成比率。因電阻溫度探測器電流源溫漂而引起的模擬輸入電壓的任何誤差,都可以通過基準電壓的偏差進行補償。
熱敏電阻器
熱敏電阻器的電阻也隨著溫度的變化而變化,但是其精度不如電阻溫度探測器。熱敏電阻通常使用單電流電源。同使用電阻溫度探測器一樣,一個精密電阻器用于基準電壓源,一個電流源驅動該精密基準電阻器和熱敏電阻器,這意味著可以實現一種比率配置。這也說明電流源的精度并不重要,因為電流源溫漂既影響熱敏電阻器,同時也影響基準電阻器,因此抵消了漂移影響。在熱電偶應用中,通常利用熱敏電阻器進行冷接點補償。熱敏電阻器的標稱電阻通常為1000 Ω或更高以上。
熱敏二極管
當然,也可以用熱敏二極管進行溫度測量。在這類系統中,通過測量二極管接法晶體管的基極-發射極電壓來計算溫度。采用兩種不同的電流分別通過熱敏二極管。測量在每種情況下的基極-發射極電壓。由于知道電流的比率,因此可以通過測量兩個不同電流情況下的基極-發射極電壓差來精確地計算溫度。
圖3.熱敏二極管溫度系統模擬電路部分
在圖3中,我們將AD7792/AD7793的激勵電流源設置為 10 μA 與210 μA (也可以選擇其他值)。首先,讓210 μA的激勵電流通過二極管,利用模數轉換器測量基極-發射極電壓。然后,利用10 μA 激勵電流重復上述測量。這意味著電流降低到原來的1/21。在測量中電流絕對值并不重要,但是要求電流比率固定。
由于AD7792/AD7793將電流源集成在芯片中,因此能夠保證電流源的精確匹配,從而使電流比率保持不變。為了消除影響溫度測量的寄生誤差,需要恒定電流比率。測量的兩個基極-發射極電壓讀數被傳輸至微控制器,然后根據以下公式計算出溫度。

其中:
n = 理想因子=被測量
K = 玻爾茲曼常數,
N = IC2與IC1的比率,
Q = 電子電荷量,
ΔVBE 由模數轉換器測量。
對模數轉換器的要求
結構
溫度測量系統通常是低速(每秒采樣最多100個)的,因此窄帶模數轉換器比較適合;但是,模數轉換器必須具有高分辨率。窄帶與高分辨率的要求,使得Σ-Δ模數轉換器成為這種應用的理想選擇。
在這種結構下,開關電容器前端模擬輸入連續采樣,采樣頻率明顯高于有用帶寬(參見圖4)。例如,AD7793有一個內置64 kHz時鐘。待測的模擬信號接近直流, 但是以K倍信號頻率(KfS)進行過采樣,從而降低了基帶內的量化噪聲。量化噪聲從直流一直分布到半采樣頻率(KfS/2)。因此,采用提高的采樣頻率增大了量化噪聲分布的范圍,降低了有用頻帶內的噪聲。
圖4.過取樣、數字濾波、噪聲整形和采樣抽取對噪聲頻譜的影響
Σ-Δ調節器將采樣的輸入信號轉換為數字脈沖串,其“1”的密度包括數字量信息。Σ-Δ調節其還能進行噪聲整形。通過噪聲整形,有用帶寬內的噪聲被移到有用帶寬以外,到達無用的頻率范圍。調節器的階數越高,在有用帶寬內對噪聲整形的作用就越明顯。但是,較高階調節器容易不穩定。因此,必須在調節器階數與穩定性之間進行權衡。在窄帶Σ-Δ模數轉換器中,通常使用二階或三階調節器,因此,器件穩定性良好。
調節器后面的數字濾波器對調節器輸出進行采樣,以給出有效的數據轉換結果。該濾波器還能濾除帶外噪聲。數字濾波器圖像頻率會出現在主時鐘頻率的多倍頻處。因此,利用Σ-Δ結構意味著所需的唯一外部元件是一個簡單的R-C濾波器,用于消除主時鐘頻率倍頻處的數字濾波器鏡像頻率。Σ-Δ結構使24位模數轉換器具有20.5字節的峰-峰分辨率(20.5穩定或無閃爍字節)。
增益
通常,來自溫度傳感器的信號都非常微弱,對于幾度的小范圍溫度變化,熱電偶與電阻溫度檢測器等溫度傳感器產生的相應模擬電壓變化最多僅為數百毫伏。因此,典型滿度模擬輸出電壓只在mV范圍內。如果不采用增益級電路,模數轉換器的滿度范圍通常為±VREF。為了使模數轉換器的性能最優化,應當使用其大部分的模擬輸入范圍。在使用這類傳感器測量溫度時,增益的重要性異常突出。要是沒有任何增益,則模數轉換器滿度范圍只有一小部分使用,這將損失分辨率。
儀表放大器允許開發低噪聲、低溫漂的增益級電路。低噪聲與低溫漂非常關鍵,可以保證因溫度變化引起的電壓變化大于儀表放大器的噪聲電壓。AD7793的增益可以設置為1, 2, 4, 8, 16, 32, 64,或128。利用128倍的最大增益設置以及產生的基準電壓源,AD7793的滿度范圍是±1.17 mV/128 mV或者大約±10 mV。這樣,ADC的高分辨率特點保證無需任何外部放大器元件就可以達到最佳效果。
對50 Hz/60 Hz頻率的抑制
Σ-Δ模數轉換器的內置數字濾波器對于抑制帶外量化噪聲以及其他噪聲源非常有效。噪聲源之一是電力網供電系統產生的頻率。當電力網為器件供電時,將產生50 Hz及其倍頻的供電系統頻率(在歐洲),或產生60 Hz及其倍頻的供電系統頻率(在美國)。窄帶模數轉換器主要采用sinc濾波器。AD7793有4個濾波器選項,模數轉換器可以根據更新速率自動選擇需要使用的濾波器種類。在16.6 Hz的更新速率使用sinc3濾波器。如圖5所示,sinc3濾波器在頻譜內存在凹槽。當輸出字速率為16.6 Hz時,可以利用這些凹槽同時抑制50 Hz或60 Hz的頻率。
圖5.更新速率等于16.6 Hz(斬波頻率)時的頻率響應
斬波器
系統中總是會出現諸如失調電壓和其他低頻誤差等不利因素,溫度測量系統也不例外。斬波器是AD7793的一個固有特性,可以用于消除這些誤差信號。斬波器的工作原理就是在模數轉換器的輸入多路復用器處交替地倒相(或削波)。然后,對每次斬波相位(正相位和負相位)進行一次模數轉換。接著,用數字濾波器對這兩次轉換結果取平均。這樣,就消除了模數轉換器內出現的任何失調誤差,更重要的是,將溫度對失調漂移的影響降到最低。
低功耗
很多溫度檢測系統都不采用電力供電。在一些工業應用中,如工廠中的溫度監視,包括傳感器、模數轉換器以及微控制器在內的整個溫度系統都在獨立的電路板內,采用4~20 mA的環路供電。因此,獨立電路板的最大電流預算為4mA。便攜式設備,如礦山中使用的便攜式瓦斯檢測儀,需要同時測量溫度和瓦斯,這類便攜式系統采用電池供電,其目的是延長電池壽命。在這類應用中,低功耗很重要,但高性能也很重要。AD7933的最大功耗電流為500 mA,所以它能持續滿足溫度系統的高性能指標要求,同時消耗相當低的電流。
結束語
溫度測量系統對模數轉換器和系統的需求相當嚴格。每種類型溫度傳感器需要的元件都不同,但是由這些傳感器產生的模擬信號通常都非常小。因此,需要利用低噪聲的增益級電路對這些信號進行放大,這樣,放大器的噪聲不至于淹沒傳感器的微弱信號。放大器后面需要高分辨率的模數轉換器,以便將傳感器輸出的模擬信號轉換為數字信號。Σ−Δ體系結構很適合這類模數轉換器應用,利用這種體系結構已經開發出具有高分辨率、高精密度的模數轉換器。除了模數轉換器和增益級,溫度測量系統還需要其它元件,如激勵電流源和基準電壓源。另外,這些元件必須具有低漂移、低噪聲的性能,這樣才不會降低系統精度。失調電壓等初始誤差可以在系統外校準,但是所用元件的溫度漂移必須很低,以避免引入誤差。最后,所有便攜式應用中都需要考慮功耗,以前采用電力網供電的許多系統現在都采用獨立的電路板供電,因此功耗問題就變得越來越重要。




